UNITED STATES
SECURITIES AND EXCHANGE COMMISSION

Washington, D.C. 20549

 

FORM 8-K

 

CURRENT REPORT
Pursuant to Section 13 OR 15(d) of The Securities Exchange Act of 1934

 

Date of Report (Date of earliest event reported) January 7, 2020

 

Sun Pacific Holding Corp.

(Exact name of registrant as specified in its charter)

 

Nevada   000-51935   90-1119774

(State or other jurisdiction

of incorporation)

 

(Commission

File Number)

 

(IRS Employer

Identification No.)

 

215 Gordon’s Corner Road, Suite 1A Manalapan, NJ 07726

(Address of principal executive offices)

 

Registrant’s telephone number, including area code 732-845-0906

 

 

(Former name or former address, if changed since last report.)

 

Check the appropriate box below if the Form 8-K filing is intended to simultaneously satisfy the filing obligation of the registrant under any of the following provisions (see General Instruction A.2. below):

 

[  ] Written communications pursuant to Rule 425 under the Securities Act (17 CFR 230.425)

 

[  ] Soliciting material pursuant to Rule 14a-12 under the Exchange Act (17 CFR 240.14a-12)

 

[  ] Pre-commencement communications pursuant to Rule 14d-2(b) under the Exchange Act (17 CFR 240.14d-2(b))

 

[  ] Pre-commencement communications pursuant to Rule 13e-4(c) under the Exchange Act (17 CFR 240.13e-4(c))

 

Securities registered pursuant to Section 12(b) of the Act:

 

Title of each class   Trading Symbol(s)   Name of each exchange on which registered
N/A   N/A   N/A

 

 

 

   

 

 

Section 8 – Other Events

 

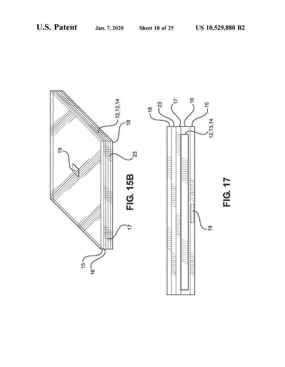
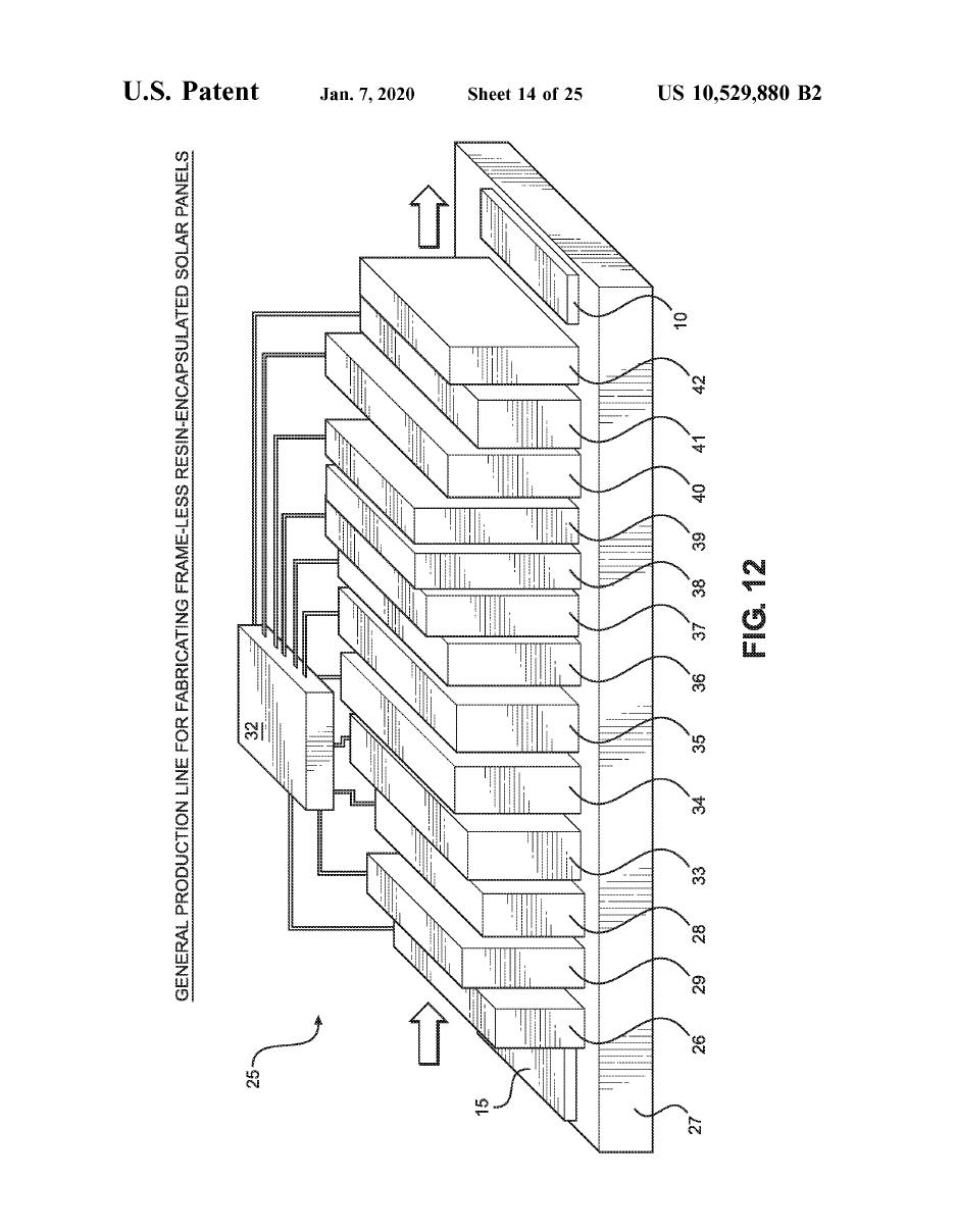
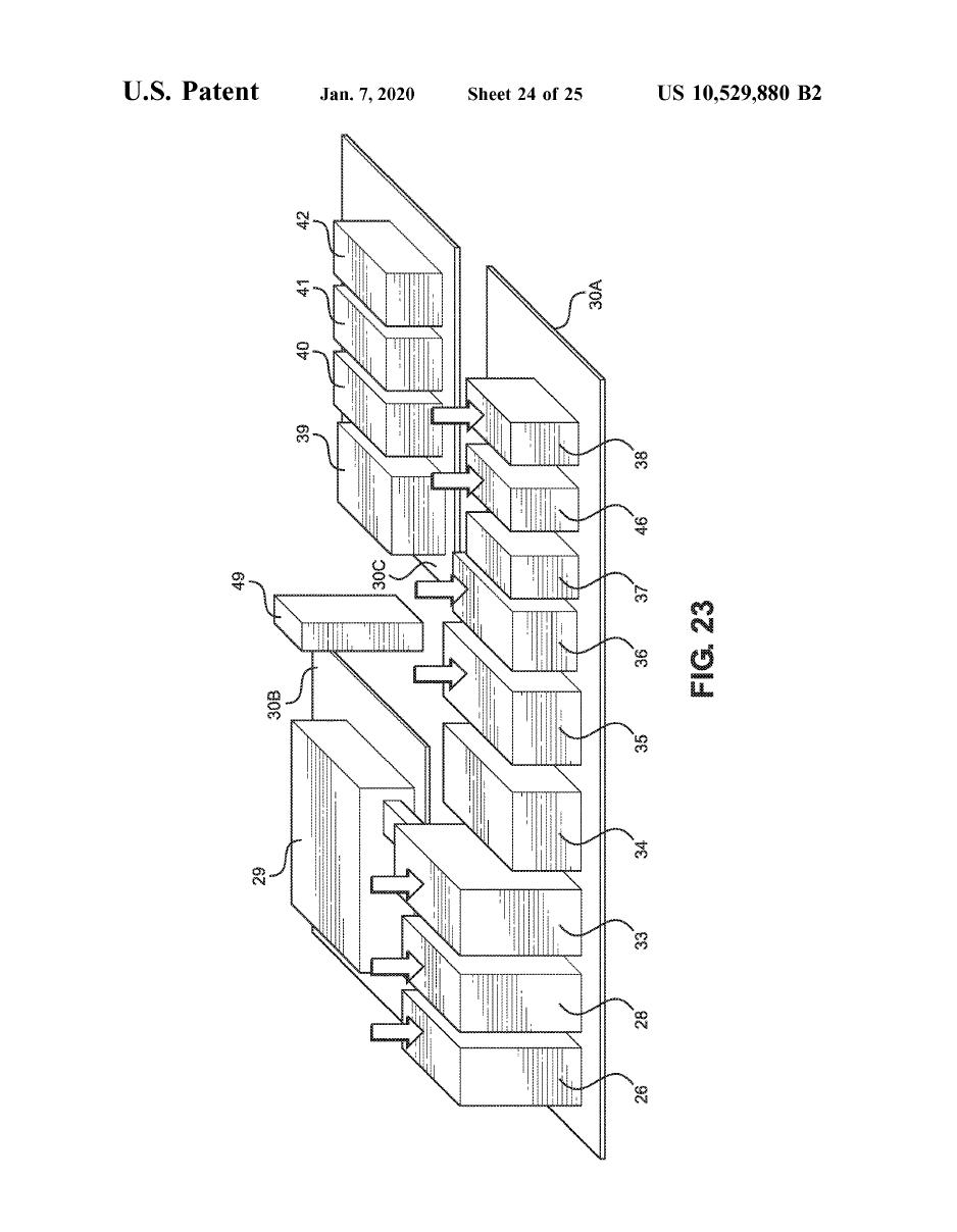
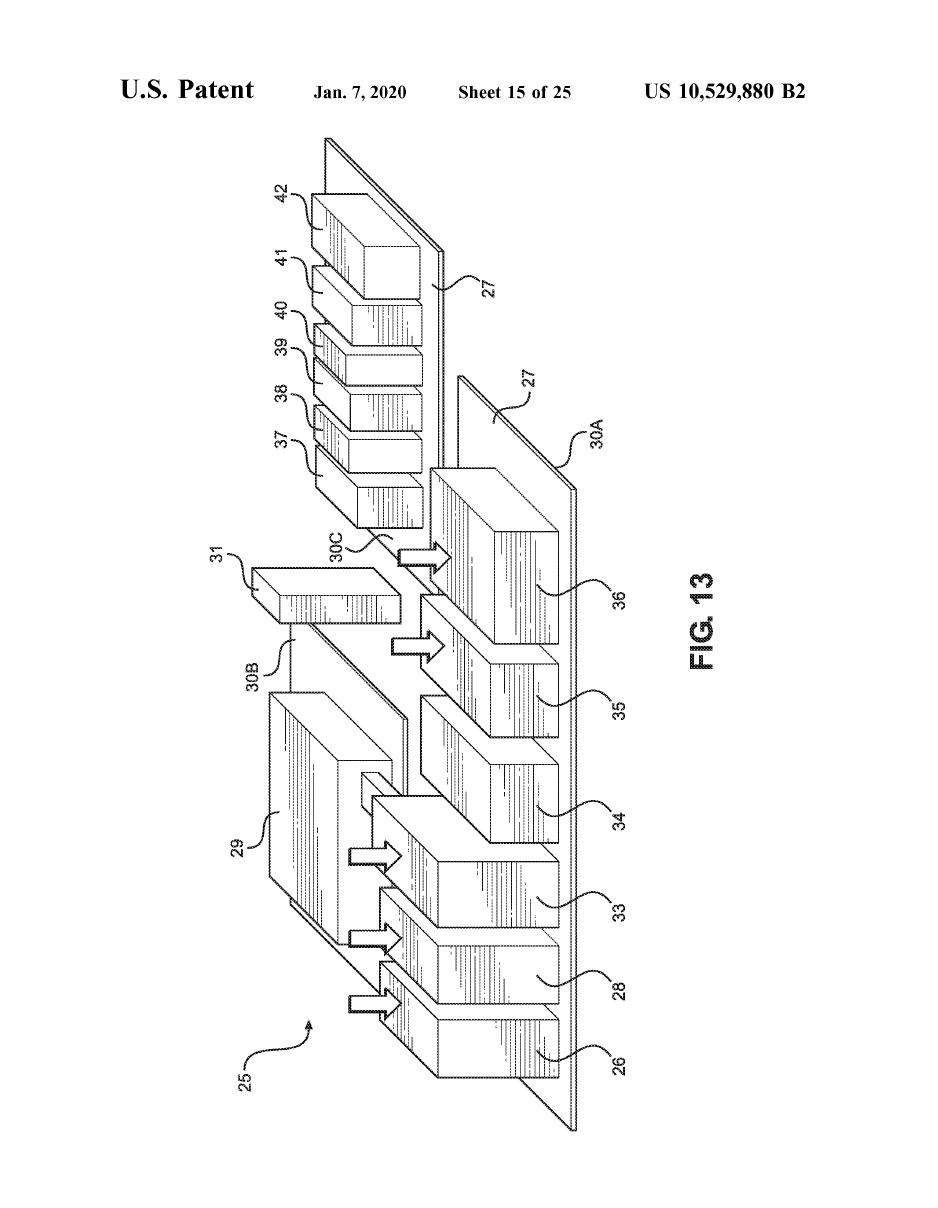
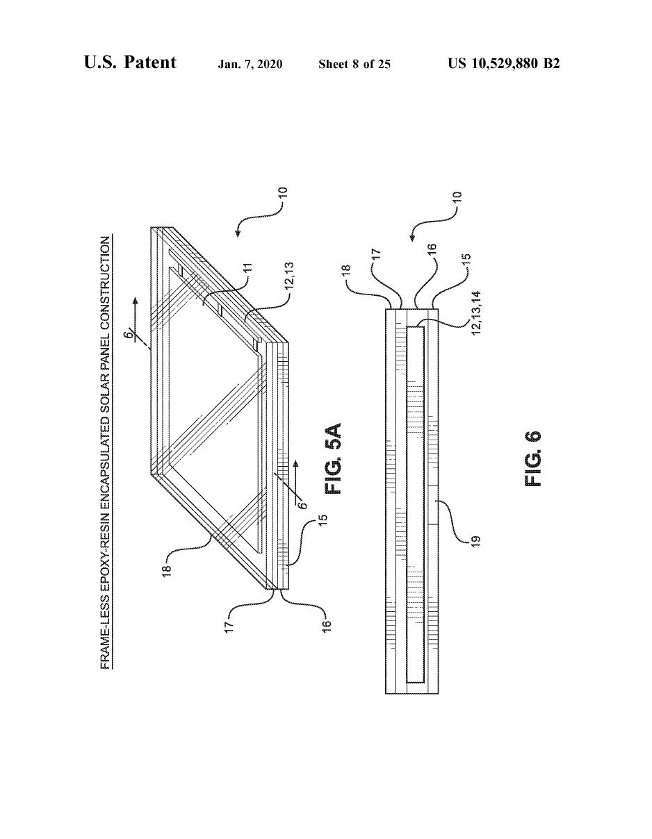
We are pleased to announce that on January 7, 2020 the US Letters Patent No. 10,529,880 B2 was granted to National Mechanical Group Corp., (the “Company”) a wholly owned subsidiary of Sun Pacific Holding Corp., for a Solar Power Panel Factory and Process for manufacturing Frame-Less Encapsulated Photo-Voltaic (PV) Solar Power Panels by encapsulating Solar Cell modules on a Phenolic Sheet Beneath a Polycarbonate Panel using Optically Transparent Epoxy-Resin Material. Originally designed for application in the solar bus shelters operated by Street Smart Outdoor Corp, as a glassless solar panel, the Company has developed a patent protected product and process for creating solar panels that can be integrated directly into the design of products as a molded, weather resistant plastic. The Company will begin work developing a business plan for expanding on either manufacturing or licensing of the technology in 2020. A copy of the patent is attached hereto.

 

Item 9.01 Financial Statements and Exhibits.

 

Exhibit Number   Description
99.1   Patent Number US 10,529,880 B2 issued on January 7, 2020

 

   

 

 

SIGNATURE

 

Pursuant to the requirements of the Securities Exchange Act of 1934, the registrant has duly caused this report to be signed on its behalf by the undersigned hereunto duly authorized.

 

  Sun Pacific Holding Corp.
  (Registrant)
Date: January 28, 2020      
  By: /s/ Nicholas Campanella
  Name: Nicholas Campanella
  Title: Director

 

   

 

 

 

 

 

 

 

Exhibit 99.1