UNITED
STATES
SECURITIES AND EXCHANGE COMMISSION
Washington, D.C. 20549
FORM 8-K
CURRENT
REPORT
Pursuant to Section 13 OR 15(d) of The Securities Exchange Act of 1934
Date of Report (Date of earliest event reported) January 2, 2020
Sun Pacific Holding Corp.
(Exact name of registrant as specified in its charter)
| Nevada | 000-51935 | 90-1119774 | ||
(State or other jurisdiction of incorporation) |
(Commission File Number) |
(IRS Employer Identification No.) |
215 Gordon’s Corner Road, Suite 1A Manalapan, NJ 07726
(Address of principal executive offices)
Registrant’s telephone number, including area code 732-845-0906
(Former name or former address, if changed since last report.)
Check the appropriate box below if the Form 8-K filing is intended to simultaneously satisfy the filing obligation of the registrant under any of the following provisions (see General Instruction A.2. below):
| [ ] | Written communications pursuant to Rule 425 under the Securities Act (17 CFR 230.425) |
| [ ] | Soliciting material pursuant to Rule 14a-12 under the Exchange Act (17 CFR 240.14a-12) |
| [ ] | Pre-commencement communications pursuant to Rule 14d-2(b) under the Exchange Act (17 CFR 240.14d-2(b)) |
| [ ] | Pre-commencement communications pursuant to Rule 13e-4(c) under the Exchange Act (17 CFR 240.13e-4(c)) |
Securities registered pursuant to Section 12(b) of the Act:
| Title of each class | Trading Symbol(s) | Name of each exchange on which registered | ||
| None | None | None |
Section 8 – Other Events
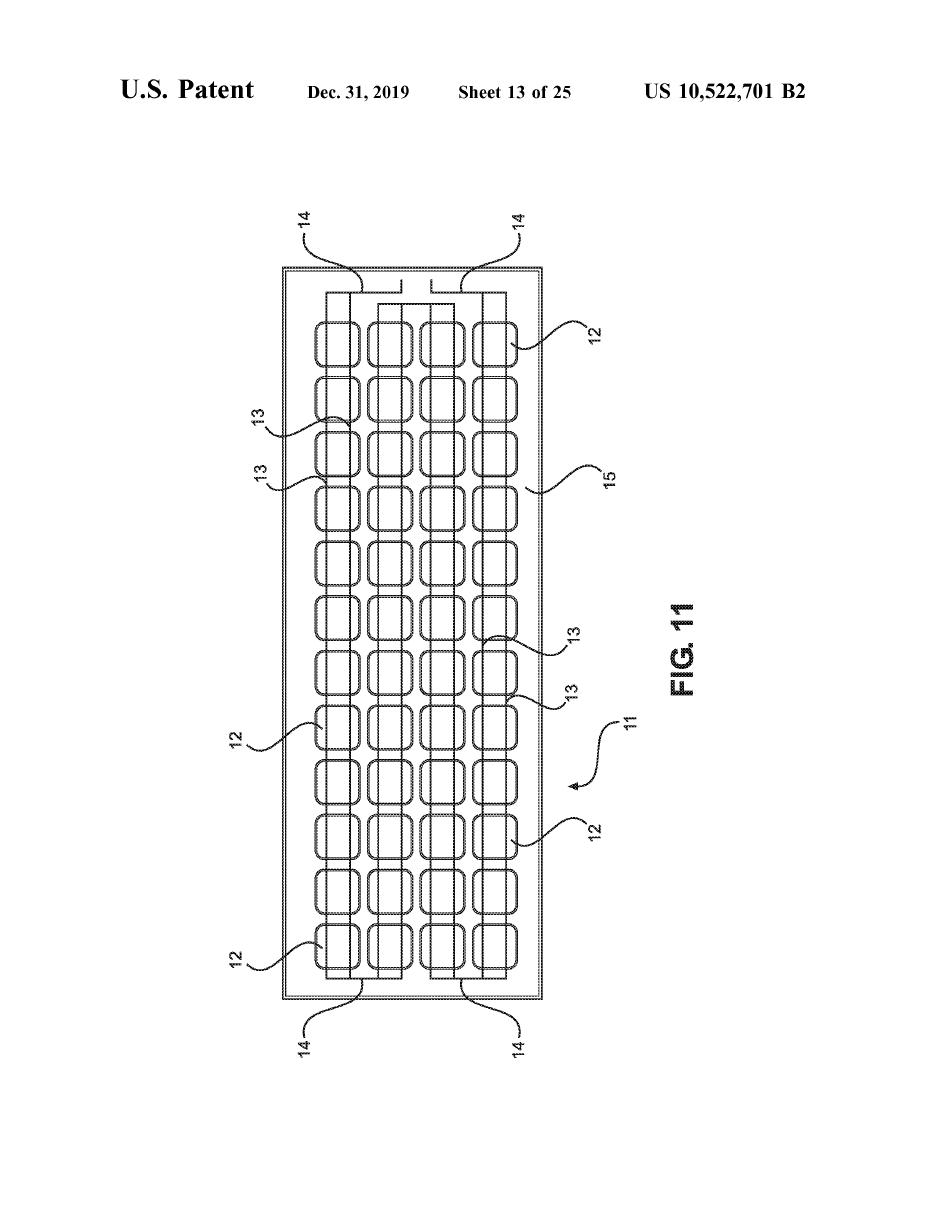
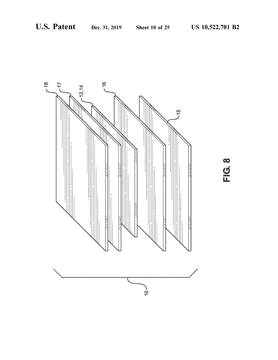
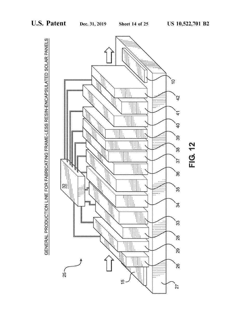
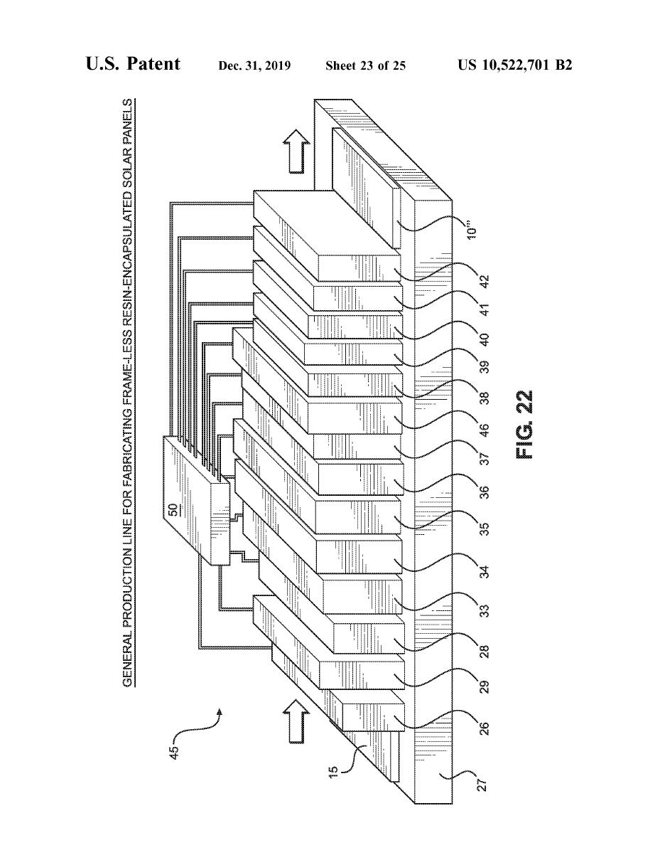
On December 31, 2019, the United States Patent and Trademark Office issued patent number US 10,522,701 B2 to National Mechanical Group Corp., a wholly owned subsidiary of Sun Pacific Holding Corp., for a Frame-Less Encapsulated Photo-Voltaic (PV) Solar Power Panel By Encapsulating Solar Cell Modules Within Optically-Transparent Epoxy-Resin Material Coating a Phenolic Resin Support Sheet. The Company will begin work developing a business plan for expanding on either manufacturing or licensing of the technology in 2020. A copy of the patent is attached hereto.
Item 9.01 Financial Statements and Exhibits.
| Exhibit Number | Description | |
| 99.1 |
SIGNATURE
Pursuant to the requirements of the Securities Exchange Act of 1934, the registrant has duly caused this report to be signed on its behalf by the undersigned hereunto duly authorized.
| Sun Pacific Holding Corp. | ||
(Registrant)
| ||
| Date: January 2, 2020 | ||
| By: | /s/ Nicholas Campanella | |
| Name: | Nicholas Campanella | |
| Title: | Director | |
Exhibit 99.1
